
(画像=SBI証券)
| この記事は2025年12月8日にSBI証券で公開された「2026年 NISAにも!? S&P500 超え!? 10年で効率よく増えたファンドは?」を転載したものです。 掲載記事:2026年 NISAにも!? S&P500 超え!? 10年で効率よく増えたファンドは? |
S&P500ファンド超え!? 10年の運用効率に優れたファンドは?
2025年も残りわずかとなってきました。この時期は2026年におけるNISAの投資戦略について検討している方も多いのではないかと思われます。
2025年を振り返るとNISAで人気のeMAXIS Slim 全世界株式(オール・カントリー)(愛称:オルカン)やS&P500インデックスファンドよりも、金(ゴールド)ファンドやAI(人工知能)に関連した株式ファンド、国内や新興国の株式ファンドなどが相対的に好成績を収めました。2025年は米国株式インデックスだけでなく、様々な国・地域の株式、様々な資産や有望テーマに分散投資した方が良かったといえます。
そこで今回は2026年からのNISAを見据えて、オルカン+αの投資戦略、S&P500+αの投資戦略をご紹介します。
有望と考えられるファンドの探し方は様々ですが、1つの方法としては、長期といえる10年間でみて、リスク(値動きの振れ幅)をある程度抑えて、安定したリターンを上げたファンド、つまり運用効率が高いファンドが候補となります。運用効率が高いファンドは、リスクは大きいものの、それに見合った高いリターンを獲得しているファンドも入ってきます。
運用効率はシャープレシオ(=(リターン-安全資産利子率)÷標準偏差(リスク))で確認することができます。シャープレシオは金融商品の投資効率性を評価する際に使用する代表的な指標の1つです。運用で取ったリスクに見合うリターンを上げたかどうかを測る指標で、リスク1単位あたりの超過リターンを計測し、この数値が大きいほど投資効率が高いことを示します。
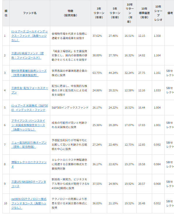
SBI証券取り扱いで、NISA(成長投資枠)で買える10年シャープレシオ上位ファンド10本が図表1となります。
5位にS&P500インデックスファンドが入りました。6位から10位までのファンドもS&P500インデックスファンドには僅かに見劣りするものの相対的に運用効率が高いファンドといえます。
それぞれのファンドの特徴についてコメントします。
図表1 NISAで買える 10年シャープレシオ上位ファンド10本

※ウエルスアドバイザーのデータをもとにSBI証券作成
※NISA・成長投資枠対象ファンド(SBI証券ネット取り扱い、運用期間10年以上)を10年シャープレシオ順に表示(2025年11月末基準)
※上記は過去の実績であり、将来の運用成果を保証または示唆するものではありません
(画像=SBI証券)
10年の運用効率に優れたファンドの特徴は?
1位のiシェアーズ ゴールドインデックス・ファンド(為替ヘッジなし)と、2位の三菱UFJ 純金ファンド(愛称:ファインゴールド)は、金価格との連動を目指す、いわゆる金(ゴールド)ファンドです。1位が海外の金ETFに連動を目指すファンドで、2位が国内の金ETFに連動を目指すファンドとなります。金(ゴールド)ファンドは直近3年間のリターンがS&P500ファンドよりも高かったことに加えて、リスクが相対的に抑えられていることから、10年で高い運用効率を実現しています。
3位の野村世界業種別投資シリーズ(世界半導体株投資)は、各国・地域のマクロ投資環境見通しを考慮しつつ、技術力、価格決定力、利益構造、財務内容などの観点からファンダメンタルズ分析を行い、半導体関連企業の組入銘柄を決定しています。組入上位銘柄はエヌビディア、ブロードコム、台湾セミコンダクター(TSMC)、マイクロン・テクノロジー、ASMLホールディングなどとなっており、組入銘柄数は24銘柄です(※)。エヌビディア、ブロードコム、TSMCの組入が高いのが特徴で、リスクは大きいもののそれに見合った高いリターンを獲得しています。
4位の三井住友・配当フォーカスオープンは配当に着目し、中長期的な株価の上昇と配当収入による成長を目指すファンドです。組入上位銘柄はみずほフィナンシャルグループ、三井住友フィナンシャルグループ、住友電気工業、三菱UFJフィナンシャル・グループ、日本たばこ産業などとなっており、組入銘柄数は96銘柄、予想配当利回りは3.7%です(※)。10年のリターンは国内株式ファンドの中ではそれほど高くはないものの、リスクが抑えられることから高い運用効率を実現しています。
5位はiシェアーズ 米国株式(S&P500)インデックス・ファンドとなりました。10年以上の運用実績があるS&P500インデックスファンドは基準日時点ではこのファンドのみです。インデックスファンドの中ではトップの運用効率ですので、S&P500は運用効率に優れたインデックスといえます。
6位のアライアンス・バーンスタイン・米国成長株投信 Bコース(為替ヘッジなし)は、成長の可能性が高いと判断される米国株式に投資し、高い利益成長もしくは持続的な利益成長の可能性が高いと判断される企業を発掘しているファンドです。組入上位銘柄はエヌビディア、マイクロソフト、アルファベット、アマゾン・ドット・コム、ブロードコムなどとなっており、組入銘柄数は61銘柄です(※)。
7位のニュー配当利回り株オープン(愛称:配当物語)は、予想配当利回りが市場平均と比較して高いと判断される銘柄を中心に、財務内容の健全性、業績動向、配当方針等を考慮して投資銘柄を選定しています。組入上位銘柄は三菱UFJフィナンシャル・グループ、トヨタ自動車、日立製作所、三井住友フィナンシャルグループ、住友電気工業などとなっており、組入銘柄数は70銘柄で、予想配当利回りは2.79%です(※)。リスクとリターンの特性は4位のファンドと類似しています。
8位の情報エレクトロニクスファンドは、電気機器、精密機器などエレクトロニクスに関連する企業群や情報ソフトサービス、通信など情報通信に関連する企業群の株式を主要投資対象としているファンドです。組入上位銘柄はフジクラ、東京エレクトロン、古河電気工業、富士通、ソニーグループなどとなっており、組入銘柄数は44銘柄です(※)。国内株式ファンドの中ではリスクは大きいもののそれに見合った高いリターンとなっています。
9位の三菱UFJ NASDAQオープン Bコースは、新技術・開発力、ビジネスモデル等から成長が期待できるNASDAQ銘柄に投資しているファンドです。組入上位銘柄はエヌビディア、アルファベット、マイクロソフト、アマゾン・ドット・コム、ブロードコムなどとなっており、組入銘柄数は49銘柄です(※)。
10位のnetWIN GSテクノロジー株式ファンド Bコース(為替ヘッジなし)は、テクノロジーの発展により恩恵を受ける米国企業の株式に投資するファンドです。組入上位銘柄はエヌビディア、アルファベット、アマゾン・ドット・コム、マイクロソフト、メタ・プラットフォームズなどとなっており、組入銘柄数は35銘柄です(※)。
10年シャープレシオ上位ファンドのうち金(ゴールド)ファンドとS&P500インデックスファンドを除く7本が、SBI証券が厳選した「長期投資×好実績」ファンドである「SBIセレクト」のファンドとなりました。
10年シャープレシオ上位ファンド10本は、今後、運用実績が10年未満の好成績ファンドが条件を満たすタイミングなどによって順位の入替えが考えられますが、10年の運用効率は、長期の視点で好成績ファンドを選ぶ有効な投資視点といえます。
ファンド選びにおいては、S&P500インデックスファンドとは異なる値動きが期待される、①リターンはまずまずでリスクが抑えられていることで高い運用効率を実現しているファンドと、②リスクは大きいが、リスクに見合った高いリターンを獲得しているため、高い運用効率を実現しているファンドの2種類を組み合わせて投資することが有効と考えます。
(※)ポートフォリオの情報は2025年10月末基準(8位のファンドのみ11月末基準)。個別銘柄の取引を推奨するものではありません。予想配当利回りはファンドの運用利回りを示すものではありません。
| ⚠免責事項・注意事項 ・レポートおよびコラムの配信は、状況により遅延や中止、または中断させていただくことがございます。あらかじめご了承ください。 ・本資料は投資判断の参考となる情報提供のみを目的として作成されたもので、個々の投資家の特定の投資目的、または要望を考慮しているものではありません。投資に関する最終決定は投資家ご自身の判断と責任でなされるようお願いします。万一、本資料に基づいてお客さまが損害を被ったとしても株式会社ファーストパートナーズ及び株式会社SBI証券(情報発信基を含む)は一切その責任を負うものではありません。本資料は著作権によって保護されており、無断で転用、複製又は販売等を行うことは固く禁じます。 重要な開示事項(利益相反関係等)について 投資情報の免責事項 【投資信託に関するご注意事項】 ・投資信託は、主に国内外の株式や債券等を投資対象としています。投資信託の基準価額は、組み入れた株式や債券等の値動き、為替相場の変動等により上下しますので、これにより投資元本を割り込むおそれがあります。 ・投資信託は、個別の投資信託毎にご負担いただく手数料等の費用やリスクの内容や性質が異なります。ファンド・オブ・ファンズの場合は、他のファンドを投資対象としており、投資対象ファンドにおける所定の信託報酬を含めてお客さまが実質的に負担する信託報酬を算出しております(投資対象ファンドの変更等により、変動することがあります)。 ・ご投資にあたっては、商品概要や目論見書(目論見書補完書面)をよくお読みください。 【手数料等及びリスク情報について】 SBI証券で取り扱っている商品等へのご投資には、商品毎に所定の手数料や必要経費等をご負担いただく場合があります。また、各商品等は価格の変動等により損失が生じるおそれがあります(信用取引、先物・オプション取引、商品先物取引、外国為替保証金取引、取引所CFD(くりっく株365)、 店頭CFD取引(SBI CFD)では差し入れた保証金・証拠金(元本)を上回る損失が生じるおそれがあります)。各商品等への投資に際してご負担いただく手数料等及びリスクは商品毎に異なりますので、詳細につきましては、SBI証券WEBサイトの当該商品等のページ、金融商品取引法等に係る表示又は契約締結前交付書面等をご確認ください。 |